Metrik Endüstri A.Ş.
  • Kurumsal
  • Ürünler
  • Duyurular
  • Destek
  • İLETİŞİM
ENG
Whatsapp
© 2020 ULACQ. All rights reserved

KUMAŞ KATMANLI KOMPANSATÖRLER

  • Ürünler
  • KOMPANSATÖRLER
  • NEDİR ?
  • ENDÜSTRİYEL Uygulamaları
  • AVANTAJLARI
  • Yapısı
  • KONFİGÜRASYONU
  • ORTAM ŞARTLARI Cİvatalama Kuralları Toz yükü ve hızı Sonlu eleman ANALİZİ SIZINTI NEM, YOĞUŞMA, YIKAMA HAREKET Gürültü ve Ses BASINÇ, TİTREŞİM ve Vuruntu Sıcaklık
  • İzolasyon Yastığı YÖNLENDİRİCİLER PARTİKÜL BARİYERİ PARTİKÜL TAHLİYE BORUSU PARTİKÜL SAPTIRICI YOĞUŞMA ÇÖZÜMLERİ FLANŞ KANATLARI BAĞLANTI METOTLARI KARKAS TİPLERİ KÖŞELER
  • FanFlex ChemFlex MultiFlex UltraFlex ArmiFlex GTFlex
Kumaş Katmanlı Kompansatör Nedir ?

Kumaş katmanlı kompansatörler, termal değişikliklerin neden olduğu hareketi emerek kanal sistemlerinde stres rahatlaması sağlamak için tasarlanmış esnek bağlantı elemanlarıdır. Ayrıca titreşim izolatörleri, amortisörler gibi davranırlar ve bazı durumlarda bitişik kanalların veya ekipmanların yanlış hizalanmasını telafi ederler.

Tasarıma bağlı olarak sentetik elastomerler, kumaşlar, yalıtım malzemeleri ve floroplastikler de dahil olmak üzere çok çeşitli malzemelerden üretilirler.

Tasarımlar, aşırı sıcaklık veya korozyon altında çalışmak için metal çerçevelere bağlı tek bir kattan karmaşık, çok katlı yapılara kadar uzanır.

Kumaş Katmanlı Kompansatörlerin Endüstriyel Uygulamaları

İlk kullanılmaya başlanmasından bu yana, kumaş katmanlı kompansatörler, artan esnek sızdırmazlık zorluklarını çözmek için kullanılmıştır. Ancak, ana uygulama alanı elektrik üretimi olmuştur.

Malzemeler geliştirildikçe ve kompansatör tasarımı teknolojisi geliştirildikçe, aşağıdakiler de dahil olmak üzere çok çeşitli endüstriyel uygulamalarda başarıyla kullanılmıştır:

• Çimento
• Kimyasal
• Isıtma ve havalandırma
• Deniz ve deniz
• Metal Dökümhaneleri
• Petrokimya
• Kirlilik kontrolü ve baca gazı temizleme
• Enerji üretimi
- Fosil Yakıt
- Gaz Türbini
- Nükleer
• Kâğıt hamuru ve kağıt
• Çelik ve alüminyum
• Atık yakma

Kumaş Katmanlı Kompansatörlerin Avantajları

Kumaş katmanlı kompansatörler kanal sisteminde esneklik sağlar ve 4 ana duruma izin vermek için kullanılır:

1. Sıcaklık değişiklikleri nedeniyle kanalın genişlemesi veya daralması
2. Titreşim veya gürültünün etkilerini en aza indirmek için bileşenlerin izolasyonu
3. Proses işlemleri sırasında bileşenlerin hareketi
4. Büyük parçaların montajı veya sökülmesi ve montaj toleransları

Kumaş kompansatörlerin avantajları şunlardır:

Kısa uzunlukta büyük hareketler - bu özellik, daha az kompansatör kullanımı gerektirir, toplam ünite sayısını azaltarak maliyet düşürür.

Eşzamanlı hareketleri birden fazla düzlemde kolayca emebilme- bu, kanal tasarımcısının kompozit hareketleri daha az (ve daha basit) kompansatörde barındırmasını sağlar

Hareket ettirmek için çok düşük kuvvetler gerekir- düşük yay oranı, kullanımlarının büyük, nispeten hafif ekipmanlardaki gerilimleri izole etmek için kullanılmasını sağlar. Özel bir örnek, türbin şasisi üzerindeki kanal genişlemesinden gelen kuvvetleri en aza indirmenin çok önemli olduğu bir gaz türbini egzozudur.

Korozyona dayanıklı yapı malzemeleri- modern teknoloji malzemeleri, kompansatörlerin agresif kimyasal koşullarda kullanılmasını sağlar

Gürültü ve titreşim direnci – Kumaş katmanlı kompansatörler yüksek derecede ses yalıtımı ve titreşim sönümlemesi sağlar

Taşıma, kurulum ve bakım kolaylığı

Minimum değiştirme maliyeti- Kompansatör düzeneğinin kumaşı basit ve ekonomik olarak değiştirilebilir

Tasarım özgürlüğü – Kumaş katmanlı kompansatörler, konik veya düzensiz şekle sahip kanal uygulamasına uyacak şekilde uyarlanabilir, böylece tasarımcıya maksimum seçenek çeşitliliği sağlar

Termal molalar- kumaşın kendi kendine yalıtım özellikleri, sıcaktan soğuğa basit geçiş sağlar

Kumaş Katmanlı Kompansatörlerin Yapısı

Kompansatördeki katman sayısına bağlı olarak 2 temel yapı şekli vardır:

1. Tek katmanlı kumaş kompansatörler

Genellikle düşük sıcaklığın ve düşük basıncın olduğu ortamlar için uygun çözümlerdir. Silikon, PTFE, vb. elastomer takviyeli kumaşlardan imal edilir. Flanş sızdırmazlığını sağlamak için kompansatör bezinin kenarlarına flanş takviyesi ilave edilir, ek olarak agresif kimyasalların bulunduğu ortamlar için PTFE conta kullanımı önerilmektedir. Bu şekilde iyi bir sızdırmazlık sağlamanın yanında bağlantı elemanlarının kompansatör flanşına zarar vermesi engellenmiş olur.

2. Çok katmanlı kumaş kompansatörler

Çok katmanlı kompansatörlerde, farklı özelliklere sahip kumaşların bir araya getirilerek ortam şartlarına uygun çalışma performansı elde edilmesi amaçlanmaktadır.

Dıştan-içe kompansatör bez katmanlarının kullanım amaçları kabaca şu şekildedir;

1. Dış Katman: Kompansatörü dış etkenlere (UV, asit, su, kir, vb.) karşı korur. Bu katmanda kullanılacak elastomer kaplı kumaş bir alt katmandaki sızdırmazlık katmanını darbelere karşı korur ve elastomerin cinsinde göre sızdırmazlığa katkıda bulunur. Bu katmanda %100 gaz sızdırmaz özelliğe sahip Lamine PTFE Cam elyaf kumaş kullanılır ise bir alttaki sızdırmazlık katmanının kullanılmasına gerek kalmaz.

2. Sızdırmazlık Katmanı: Akışkan sızdırmazlığını sağlayarak kompansatör katmanlarının ve hattın güvenle çalışmasını sağlar.

3. Isı izolasyon Katmanı: Üzerinde bulunan katmanları, akışkanın yüksek sıcaklığından korur ve aynı zamanda kompansatör bezinin dış yüzey sıcaklığının, işçi güvenliği açısından uygun sıcaklıklara düşürülmesini sağlar.

4. Mukavemet Katmanı: Bu katman, kompansatör bezi üzerinde oluşabilecek;
a. Ani basınç değişimlerine (pulsasyon)
b. Titreşimlere (vibrasyon)
c. Hat hareketlerine (uzama, sıkışma, yanal kayma, burulma, eğilme)
karşı direncini arttırarak, kompansatörün kullanım ömrünü arttırır.

Kumaş Katmanlı Kompansatörlerin Konfigürasyonu

Kumaş kompansatörlerin bağlantısı için aşağıdaki gibi 3 tip konfigürasyon mevcuttur.
1) Bant tipi kompansatör bezi
2) U-tipi kompansatör bezi
3) Kombine tip kompansatör bezi

Bant Tipi Kompansatör Bezi
Esnek elemanın düz bir bant gibi imal edildiği kompansatör bezi konfigürasyonudur.

U-Tipi Kompansatör Bezi
Esnek elemanın dik açılarda oluşturulmuş flanşlara sahip kompansatör bezi konfigürasyonudur.

Kombine Tip Kompansatör Bezi
Hem bant tipi hem de u-tipi konfigürasyonları kullanan kompansatör bezi konfigürasyonudur.

Ortam Şartları

Ortam Sıcaklığı
Kompansatör, hava sirkülasyonunun zayıf olduğu bir alanda bulunmamalı veya yüksek sıcaklıkta radyasyona maruz kalmamalıdır. Yüksek sıcaklıklarda (250° C'nin üzerinde) çalışan kumaş kompansatörler sıcaklık gradyanına maruz kalır. Bu gradyan, kompansatörün yüksek iç sıcaklığı (sıcak yüz) ve daha soğuk dış sıcaklık (soğuk yüz) arasındaki farktır. Kompansatörün çevresindeki yüksek ortam sıcaklıkları, ısının kompansatörün dış yüzeyinden yayılma hızını azaltarak bu sıcaklık gradyanını azaltacaktır. Bu da birincil katmanın yani sızdırmazlık membranın ve dolayısıyla kompansatörün bozulmasına yol açacaktır. Bu nedenle, ortam sıcaklıklarını üreticinin önerileri dahilinde tutmak için yeterli önlemin alındığından emin olmak önemlidir, aynı sebeple kompansatörün dışardan yalıtımına genellikle izin verilmez. Soğuk dış ortam koşullarının hüküm sürdüğü yerlerde, içinde yoğunlaşma oluşma olasılığına dikkat edilmelidir. Bu gibi ortamlar için iç veya dış yalıtım gibi karşı önlemler uygulanabilir.

Çevre
Kumaş kompansatörler genellikle enerji üretim tesisleri, kimya fabrikaları, çimento fabrikaları vb. gibi zorlu endüstriyel yerlerde bulunur. Bu yerlerde, kompansatörün elastomer dış katmanı, normal seviyeden daha yüksek agresif ajanlar içerebilen kirletici maddelere maruz kalabilirler. Bu tür kirleticilerin türü ve konsantrasyonu tasarım aşamasında biliniyorsa, spesifik ajanlara dirençli uygun bir dış katman seçilerek bu saldırıya direnecek bir bağlantı tasarlamak mümkündür.

Konum
Bir kompansatörün dahili olarak bir bina içinde veya dışında bulunup bulunmadığı ve elementlere maruz bırakılma durumu, dış katman tipinin seçiminde de bir etkiye sahip olabilir. Kapalı ortama yerleştirilmiş kompansatörler mutlaka su geçirmez dış katmanlar gerektirmeyebilir.

Cıvatalı Kompansatörler için Cıvatalama Kuralları

Baca gazı sızdırmazlığı (TI-002) veya nekal sızdırmazlığı (TI-003) elde etmek için kullanılan cıvata yükleme tablosu aşağıdaki gibidir. (MoS2 yağlamalı cıvata için geçerlidir).





Baskı Laması Ölçülendirme Tablosu

Toz Yükü ve Hızı

Ortamdaki toz içeriği, kompansatör karkasının özel bir tasarımını gerektirebilir.

Genel olarak aşağıdakilerden kaçınılmalıdır:
• Toz parçacıklarının neden olduğu aşınma
• Esnek elemanda tortunun çökmesi ve sıkışması
Çok çeşitli uygulamalar ve kompleks tasarımlar nedeniyle, özel mühendislik önerileri için lütfen bize başvurun.

Sonlu Eleman Analizi

Sonlu Eleman Analizi, gerçek dünyadaki bir yapının veya montajın kuvvetlere, ısıya, titreşime, mekanik strese karşı ne kadar dayanacağını veya istenilen performansı gösterip gösteremeyeceğini incelemek için bilgisayar aracılığı ile hesaplama metodudur. Buna "analiz" denir, ancak ürün tasarımında, ürün kullanıldığında ne olacağını tahmin etmek için kullanılan yöntemdir.

Sonlu elemanlar yöntemi, gerçek bir nesneyi çok sayıda öğeye ayırarak çalışır ve her bir elemanın davranışı, çalışacağı koşullarda bir dizi matematiksel denklemle incelenir. Bilgisayar programı daha sonra tüm nesnenin davranışını tahmin etmek için tüm bireysel davranışları toplar.

Sonlu Elemanlar Yöntemi, kompansatörlerin aşağıdaki fiziksel olaylara göre davranışını tahmin etmek için kullanılır:
• Isı transferi
• Mekanik stres
• Titreşim

Yöntem, kompansatörlerin tasarımını ve gaz türbini egzoz sistemlerinde kullanılan yapılarını doğrulamak için yaygın olarak kullanılmaktadır.

Sızıntı

Kumaş kompansatörler, makul derecede pratik olduğu kadar sızdırmaz olacak şekilde tasarlanmıştır. Her ne kadar laboratuvar koşulları altında sıfır sızıntı veya nekal sızdırmazlık göstermek nispeten basit bir mesele olsa da yüksek sıcaklıkta çalışan çok katmanlı kompansatörlerin saha performansını kapsamlı testlerle doğrulamaksızın sızdırmaz (veya sıfır sızıntı) olarak değerlendirilmemelidir.

Tek katmanlı elastomerik kompansatörlerin dikkatli seçimi ve tasarımı sayesinde, doğal esneklikleri ile, bitişik metal işçiliğinin kalitesine ve tasarımına yeterince dikkat edilmesi koşuluyla sıfır kaçak sistemlerinin sağlanması çok daha kolaydır.

Kumaş kompansatörlerin büyük çoğunluğu (hem tekli hem de çok katmanlı), uygun malzemeler belirtilmişse kompansatör gövdesi boyunca sızdırmaz olarak değerlendirilebilir. Bununla birlikte, genel metal işi durumuna ve tasarımına, kelepçeleme alanlarına ve bunların yüzey kaplamalarına, cıvata veya kelepçeler gibi sabitleme sistemlerine ve kompansatörlerin flanş takviyelerine özel dikkat gösterilmelidir. Sistem kayıpları için en büyük potansiyelin bulunduğu alanlar budur. Mümkün olduğunda, entegre olarak monte edilmiş kompansatör bezi ile tedarik edilen yeni metal karkas, her zaman sahadaki bez birleştirmelerinden ve bezin karkasa montajından çok daha düşük bir sızıntı oranı sağlayacaktır.

Uygun test yöntemlerini (3) kullanarak, laboratuvar koşullarında baca gazı geçirmez (4) ve nekal geçirmez (5) sistemlerini göstermek mümkündür. Çalışma sırasında nekal sızdırmazlığı sağlamak için, bu tür testler sahaya kurulumdan sonra yapılmalıdır.

(3) DECHEMA Bilgi Bülteni ZfP 1, ek 2'ye benzer test yöntemleri Madde 2.2 “Köpük sıvısı ile kabarcık yöntemi”.
(4) Test özellikleri RAL TI-002 Rev. 1- 06/98 Baca Gazı Sıkı Kumaş Kompansatör sızdırmazlığı “… körük alanında kabarcık oluşmamalıdır…” ve “… ancak körüğün kelepçeleme alanında ve bez birleşim alanında sınırlı sayıda köpük kabarcığının meydana gelmesine izin verilir” anlamına gelir.
(5) Test özellikleri RAL TI-003 Rev. 1- 06/98 Nekal Geçirmez Kumaş Kompansatörler “… körük alanında kabarcık görünmemelidir…” ve “… bu hem körük alanını hem de kelepçeleme alanını kapsamaktadır ...”.

Nem, Yoğuşma, Yıkama

Baca kanalı sistemindeki nem, kumaş kompansatörün ömrü üzerinde ciddi, zararlı bir etkiye sahip olabilir ve bu nedenle dikkatli bir şekilde düşünülmelidir. Sıvının çiy noktasının üzerindeki çalışma sıcaklıklarında, nem içeriği sadece sistem soğuduğunda görünecektir. Bununla birlikte, bu nem genellikle agresif kondensat olarak görünür ve sık sık termal döngüler varsa önemli bir faktördür. Çiy noktasının altındaki çalışma sıcaklıklarında, ortam çok aşındırıcı ve kompansatöre zarar verebilecek derecede yüksek nem içerebilir.

Soğuk ortam koşullarının hüküm sürdüğü yerlerde, yoğuşma sorunlarına yol açabileceğinden kumaş kompansatörlerin kullanımına dikkat edilmelidir. Kompansatör, nispeten düşük sıcaklıktaki bir kanal sistemine yerleştirildiğinde çiylenme meydana gelebilir, bu da içeriden saldıracak olan kondensat oluşumuna neden olur. Bu durum, dış yalıtım sağlanarak karşılanabilir (Not; iç yalıtımdan kaçınılmalıdır). Kompansatörler, yalnızca iç kanal sıcaklığının, kompansatör bezinin maksimum sıcaklık kapasitelerinin altında olduğu uygulamalarda harici olarak yalıtılmalıdır. Asidik kondensattan daha az etkilenen alternatif malzemelerin kullanımına daha fazla önem verilebilir.

Kanal veya gaz türbini yıkamasının gerekli olduğu durumlarda, kompansatör malzemesinde nem birikmesini önlemek için kompansatör malzemesine monte edilmiş uygun bir drenaj sağlanmalıdır. Bu gibi yerlerde birikmenin olmaması için kompansatör, sistemin en alçak noktası olmamalıdır.

Hareket

Kumaş kompansatörler, kanallardaki ve boru hatlarındaki hareketleri ve yanlış hizalamaları emecek şekilde tasarlanmıştır. Kompansatör bezinin aktif uzunluğu harekete izin veren kısımdır. Aktif uzunluk, kanal sisteminin titreşim ve termal hareketlerini emer ve flanşlar arasındaki esnek uzunluk ile aynı olabilir veya olmayabilir:



Hareketler normalde kanal plakasının veya borunun termal genleşmesiyle gerçekleşir, ancak rüzgâr, kar yükü, kanal yanlış hizalanması, titreşim, çökme ve deprem gibi diğer hareket türleri de mümkündür. Kumaş kompansatör 5 farklı hareketi mümkün kılar:



Titreşim Ve Hareket Döngüleri
Titreşimin neden olduğu hareket, yavaş ve nispeten seyrek olan termal döngü nedeniyle hareket ile karıştırılmamalıdır. Lifli malzemeler yüksek frekans ve genlik koşullarında zayıftır. Sonuç olarak, doğru malzeme seçimini sağlamak ve uygun tasarım önerileri sağlamak için titreşimler termal hareketlerden ayrı olarak düşünülmelidir.

Gürültü ve Ses

Kanal içi gürültüler, belirli koşullar altında önemli bir tasarım değerlendirmesi olabilir ve kanalın akustik iyileştirmesi ile azaltılabilir. Kumaş kompansatörler bir kanal sistemindeki birincil gürültü kaynağı olabilir ve bu gürültüyü azaltmak için tasarıma dahili bir akustik destek dahil edilebilir.

İzolasyon yastığı, sıcaklığa dayanıklı dokuma kumaş veya tel örgü (veya her ikisi) içine yerleştirilmiş ve kompansatör ve yönlendirici arasında bulunan yalıtım malzemesinden imal edilecektir.

Dahili yönlendirici plakaların tasarımı da bir kompansatörün akustik performansında önemli bir rol oynayabilir.

Basınç, Titreşim ve Vuruntu

Bir sistemdeki çalışma basıncı, kumaş kompansatörün tasarımını etkileyen önemli bir faktördür. Malzemelerin çok esnek doğası, ele alınması gereken bir dizi tasarım sorununu beraberinde getirir. Kanal sistemlerindeki maksimum çalışma basınçları boru hattı sistemleriyle karşılaştırıldığında düşük olmasına rağmen, pozitiften negatife veya kısa süreli tepe basınçları gibi geniş basınç değişimleri meydana gelebilir. Bu tür değişiklikler belirtilen tasarım basıncına ve müşteri tarafından beklenen gaz sızdırmazlığının ölçüsüne yansıtılmalıdır. Malzemelerin seçiminde ve yapımında özellikle dikkatli olunması gereken hususlar şunlardır:

• Kompansatör bezinin aşırı gerilmeden, tüm hareket ve sıcaklık koşulları altında belirtilen tasarım basıncının muhafaza edilmesi
• Kompansatör bezinin sıkışık kalmasına yol açacak veya kanalın keskin ve sıcak kısımlarıyla temas etmesine neden olabilecek pozitiften negatife basınç değişiklikleri
• Kompansatör bezinin baskı flanşlarının cıvata kafalarına temas etmesine sebebiyet veren yüksek pozitif basınç ve sıkışma
• Kompansatör katmanları arasında sıcak gaz dolaşımına izin verebilecek önemli hava boşluklarına neden olan basınç değişiklikleri
• Sistem çalışması sonucu oluşan basınç dalgalanmaları

Pulsasyon
Bir kanal veya boru hattındaki basınç titreşimi, bir kompansatör bezi, özellikle de dokuma seramik elyaf katmanlarından üretilenler için zararlı olabilir. Basınçtaki hızlı değişim, liflerin yorgunluğuna neden olur ve kompansatör bezinin erken bozulmasına neden olabilir. Kompansatör bezinin motora çok yakın takılmadığından emin olmak için yanmalı motor egzoz sistemleri için kompansatör bezleri tasarlanırken özellikle dikkat edilmelidir. Basınç dalgalanmalarının azalması için yeterli bir mesafe gereklidir.

Sarsıntı
Sarsıntı, özellikle sistemin dengesiz olduğu fanlardan kaynaklanabilir ve komşu fanlar için kompansatör bezleri için kullanılan malzemeler bu düşünülerek seçilmelidir. Kompansatör bezinin erken bozulmasına yol açabilecek sarsıntıların üstesinden gelmek için, malzemeler salınımları sönümlemek için yeterli kalınlıkta ve yoğunlukta olmalıdır. Güçlendirilmiş elastomerik malzemeler genellikle fan girişine veya çıkışına takılan kompansatör bezleri için uygundur. Kompansatör bezi üzerindeki sarsıntı, yüksek gaz hızından da kaynaklanabilir, ancak genellikle kanala veya kanal çerçevesine tutturulmuş uygun bir yönlendirici plakanın dikkatli tasarımı ile elimine edilir. İzolasyon yastığının dahil edilmesi, sarsıntıyı en aza indirmeye yardımcı olabilir.

Sıcaklık

Çalışma Sıcaklığı
Çalışma sıcaklığı, işletim altındaki baca kanalı sistemindeki ortamın normal sıcaklığıdır. Normalde tasarım veya maksimum çalışma sıcaklığı olarak derece °C olarak belirtilir.

Termal Çevrim
Bir termal çevrimin tanımı, baca kanalı sistemindeki sıcaklığın ortamdan tam çalışma sıcaklığına taşınması ve daha sonra ortama geri dönmesidir. Termal devir sayısı genellikle gaz türbini egzoz sistemleri için çelik çerçevelerin ömür beklentisi hesaplanırken veya soğutma sırasında sistemde nemin kaç kez ortaya çıkabileceği göz önüne alındığında kullanılır.

Sapma Sıcaklığı
Bazen, baca kanalı sistemleri ortalamadan çok daha yüksek çalışma şartlarına ulaşabilir. Bu, kısa bir süre için sistemdeki sıcaklığın normal çalışma sıcaklığının üzerine çıktığı bir durumdur. Kompansatör imalatında, malzeme seçimi yaparken bu istenmeyen durumun süresi ve sıcaklığı dikkate almalıdır.

Harici İzolasyon
Dış yalıtım, çiy noktasının altında yoğuşmayı önlemek amacı dışında kullanılmamalıdır. Kanal yalıtımının sona ermesi, dış katman üzerindeki hava akışı için kritik öneme sahiptir ve genel olarak 45°'dan daha az olmayan bir açıda pahlanmalıdır. Çok sıcak uygulamalar için, yalıtım sonlandırması metal çerçevelerdeki

İzolasyon Yastığı

İzolasyon yastığı, kompansatör bezi ile ile yönlendirici sac arasındaki boşluğu doldurmak için kullanılabilen, çoğunlukla kapalı bir yastık biçiminde, yüksek ısıya dayanıklı dökme elyafların, yüksek mekanik mukavemete sahip kumaşlar ile kaplanmasıyla oluşan bir bileşendir.

Kompansatör tasarımına dahil edilmelerinin başlıca nedenleri:

• İyi termal özelliklere sahip yalıtım malzemelerinin kullanılmasıyla kompansatör bezi için ek termal koruma sağlamak.
• Katı partiküllerin kompansatör bezi boşluğuna girmesini önlemek için. Ortamın ağır toz içeriğine sahip olabileceği sistemlerde iki ana zorluk vardır. İlk olarak, esnek elemanda hasar ve erken arızaya neden olan aşındırıcı parçacıklar potansiyeli. İkinci olarak, parçacıklar boşlukta birikerek sıkışabilir ve sistemdeki sıkıştırma hareketlerini önleyebilir.
• İyi akustik zayıflatma veya emme özelliklerine sahip dökme malzemelerin kullanılmasıyla kompansatör sisteminin akustik performansını iyileştirmek.
• Esnek elemanlara destek sağlamak ve bu varyasyonların esnek elemanlara iletilmesini engelleyerek titreşim veya “çarpıntı/vuruntu” etkilerini en aza indirmek.


İzolasyon Yastığı Konstrüksiyonları

A. Flanşlı Tip
Bu montaj şekli izolasyon yastığının pozisyonunu koruyarak ısı dayanımının en yüksek seviyeye çıkmasını sağlar. Bu sistemde, izolasyon yastığının flanşları, kompansatör bezi ve baskı flanşlar arasına civatalanmıştır. Bu sayede izolasyon yastığı, kompansatör bezi ile beraber hareket ederek akışkanın sıcaklık, aşındırıcı toz gibi yıpratıcı etkilerine karşı kompansatör bezini korur.



B. Pimli Tip
Bu sistemde, izolasyon yastığı, kompansatör bezi ile birlikte hareket edebilmesi için metal aksama izolasyon pimleri yardımıyla sabitlenir. Sabitleme işlemi kanal kenarlarının içine veya yönlendirici plakalar üzerine yapılabilir.



C. Blok Tip
En pratik imalat ve montaj imkânı sunan blok tip izolasyon yastıkları, kompansatör bezi ile yönlendirici sac plakası arasına yerleştirilir.



Yönlendiriciler

Yönlendirici plakaların tasarımı, kompansatör çerçeve tasarımı ile yakından ilişkilidir ve yönlendirici, genellikle kanalın kendisinin bir kısmı tarafından oluşturulur. Birçok varyasyon mümkündür, ancak bir dizi yaygın tip aşağıda tanımlanmıştır. Dahili bir yönlendiricinin şekli, hareketin kısıtlanmadığından emin olmak için önemli bir tasarım boyutudur. Ana işlev, yüksek hızlı gazları veya partikülleri esnek elemandan uzak tutmaktır, böylece kompansatör bezinin erozyonunu önler.

Diğer önemli hususlar:

• Aşınma olasılığı ile orantılı olarak malzemenin kalınlığı,
• Sıcaklık nedeniyle genişleme ve deformasyon göz önünde bulundurularak, yönlendiricinin her bir bölümünün uzunluğu,
• Kompansatör bezini ve yastığını koruma gereksinimi
• Yönlendirici plakanın kaynak biçimi

Yönlendirici plakalar, toz veya yoğuşmayı hapsetmeyecek şekilde tasarlanmalıdır. Detaylı bilgi için lütfen bize danışın.


A. Çift Yönlendirici Plaka
Mevcut kanal veya açılı flanşlı çerçevelere montajı kolaydır. Üst üste binme, gerektiğinde ikincil toz contalarının kullanımına izin verir.



B. Seyyar Yönlendirici Plaka
Sızdırmazlık malzemeleri ile mekanik bir girişim olmadığından emin olmak için bu tür yönlendiricilere dikkat etmek gerekir. Genellikle sadece hareketin sınırlı olduğu yerlerde kullanılır.



C. Fabrikasyon Montaj Tip Yönlendirici
Çerçeve tasarımı ve hareket gereksinimleri bu akış yönlendiricisinin şeklini belirler. Koniklik, yanal hareket için gerekli olan mesafeyle sınırlıdır.



D. Yüzer Tip Yönlendirici
Bu yüksek yanal eklem hareketlerine sahip sistemde, yüzen bölüm, gerekli düzlemde serbest dolaşıma izin vermek için köşe profillerle veya pimlerle aralıklarla tutulur.



Partikül Bariyeri

Partikül Bariyeri, çok yüksek katı partikül içeriğine sahip sistemlerde, ortam içinde taşınan partiküllerin, kompansatör boşluğuna girişini en aza indirmek için kullanılır.
Bu sayede kompansatörün uzun ömürlü çalışması amaçlanmaktadır.
Ayrıntılar için lütfen bize danışın.

Partikül Tahliye Borusu

Partikül Tahliye Borusu, çok yüksek katı partikül içeriğine sahip sistemlerde, kompansatör boşluğuna dolan partiküllerin otomatik veya manuel şekilde tahliyesini gerçekleştirmek için kullanılmaktadır. Bu sayede kompansatörün uzun ömürlü çalışması amaçlanmaktadır.
Ayrıntılar için lütfen bize danışın.

Partikül Saptırıcı

Partikül Saptırıcı, çok yüksek katı partikül içeriğine sahip, yukarı yönlü akışkanın varlığında kullanılan, yönlendirici plakanın hemen yukarısında yerleştirilmiş, L profilli bir metal bileşendir.

Yer çekiminden veya türbülans akımlarından dolayı aşağı düşen partiküllerin, yönlendirici plakanın içerisine girerek birikmesini önler.

Bu sayede kompansatörün uzun ömürlü çalışması amaçlanmaktadır.
Ayrıntılar için lütfen bize danışın.

Yoğuşma Çözümleri

Kompansatör bezine zarar verebilecek korozif asidik yoğuşmanın tahliyesi için paslanmaz çelik veya PTFE malzemeden işlenmiş drenaj borusu, kompansatörün yere en yakın kısmına takılır.

Bununla beraber yoğuşma bariyeri tipi yönlendirici sac kullanılması oluşacak yoğuşmanın kompansatör bezi içerisine dolmasını büyük oranda engelleyecektir.

Bu sayede kompansatörün uzun ömürlü çalışması amaçlanmaktadır.
Ayrıntılar için lütfen bize danışın.

Flanş Kanatları

Yüksek akışkan sıcaklığı, zaman içerisinde kompansatörün metal gövdesindeki sıcaklığının artmasına neden olur.

Eğer biriken ısı doğru bir şekilde bertaraf edilmez ise, kompansatör esnek elemanlarının, özellikle de ısı dayanımı bakımından en düşük mukavemete sahip dış katmanın hızlıca deforme olmasına yol açacaktır.

Bunun önlenmesi için ısı iletim katsayısı en yüksek olan bakır malzemeden imal flanş kanatçıkları kullanılarak, flanş bölgesinde biriken ısı konvektif iletim yolu ile kompansatör üzerinden havaya aktarılır.

Flanş kanatçıklarının kullanılmasının mümkün olmadığı durumlarda, baskı laması üzerinde kullanılacak contaların, ısı iletim katsayısı düşük malzemelerden kullanılması (örn: Klingrit conta) kompansatör gövdesi ile baskı laması arasındaki ısı köprüsü kesilerek, esnek eleman üzerindeki ısı birikmesi engellenebilir.

Bağlantı Metotları

Kumaş katmanlı kompansatörlerin bağlantısında kullanılan birkaç yöntem vardır, en yaygın olanlardan bazıları aşağıda detaylandırılmıştır:

Kompansatör Bezi Konfigürasyonu Bağlantı Aracı Hat Kesiti Hat Boyutu Çalışma Basıncı Bağlantı Maliyeti Yorum
Bant Tipi Vidalı Kelepçe Dairesel Küçük Düşük Düşük Hızlı kurulum
Civatalı Kelepçe Dairesel Küçük - Büyük Düşük Düşük Hızlı kurulum. Eşit sıkıştırma basıncı sağlamak için daha büyük çaplarda çeşitli segmentlerde geçiş yapın
Baskı laması Dairesel / Dikdörtgen Küçük - Büyük Düşük - Yüksek Orta Yüksek sıcaklık kapasitesi
Dıştan Baskılı Lama Dairesel / Dikdörtgen Küçük - Büyük Düşük Yüksek Orta Sıcaklık Kapasitesi
U Tipi Baskı Laması Dairesel / Dikdörtgen Küçük - Büyük Düşük - Yüksek Orta Orta Sıcaklık Kapasitesi


Vidalı / Civatalı Kelepçe
Küçük çaplı dairesel bant tipi kumaş kompansatörlerde kullanılır ve genellikle paslanmaz çelik şeritten imal edilir.





Baskı Laması
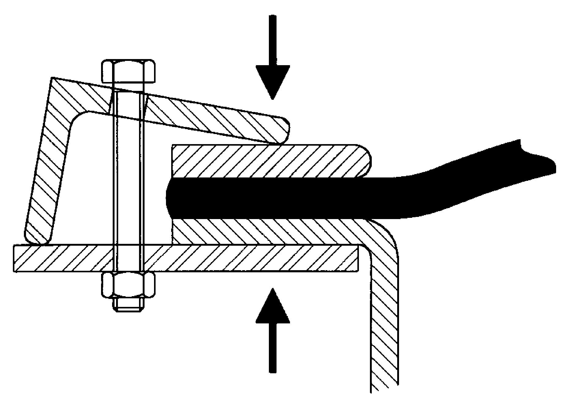
Cıvata, somun ve pul kullanılarak montajı yapılan baskı lamaları, yüksek sıcaklık ve yüksek basınç altında kompansatör bezinin çalışmasına izin verir.





Yaylı rondelalarının genellikle cıvata yükünü korumaçin kullanılması gerektiğini unutulmamalıdır:



Pozitif basıncın yüksek eksenel hareketle birleştiği durumlarda, cıvata başlarının kompansatör bezinin dış katmanına zarar vermesini önlemek için havşa başlı cıvatalar kullanılmalıdır:



Dıştan Baskılı Lama
Genellikle bant tipi kompansatör bezlerinde kullanılan bu bağlantı sistemi, bir önceki bağlantı sisteminin uygun olmadığı ortamlar için alternatif bir çözümdür.

Karkas Tipleri

Etkili sızdırmazlık, esnek elemanın tutturulduğu çerçevelerin tasarımına bağlıdır. Kompansatörün tipine bağlı olarak çerçevenin birçok varyasyonu mümkündür, ancak uygulamaların çoğunu kapsayan bazı temel yapılandırmalar vardır.

1) BANT TİPİ KOMPANSATÖR BEZİ
Hem imalat hem de bağlantı açısından en etkili bağlantıyı sağlar. Bant tipi kompansatörler için çerçeveler, U-tipi kompansatörlerinkinden biraz daha karmaşık olabilir, ancak bu, esnek elemanın onarımı veya değiştirilmesi kolaylığıyla dengelenir. Genel olarak, bunlar U-tipi kompansatörlerden daha uzun ömür sağlar.

A) Basit Kanal Bağlantısı
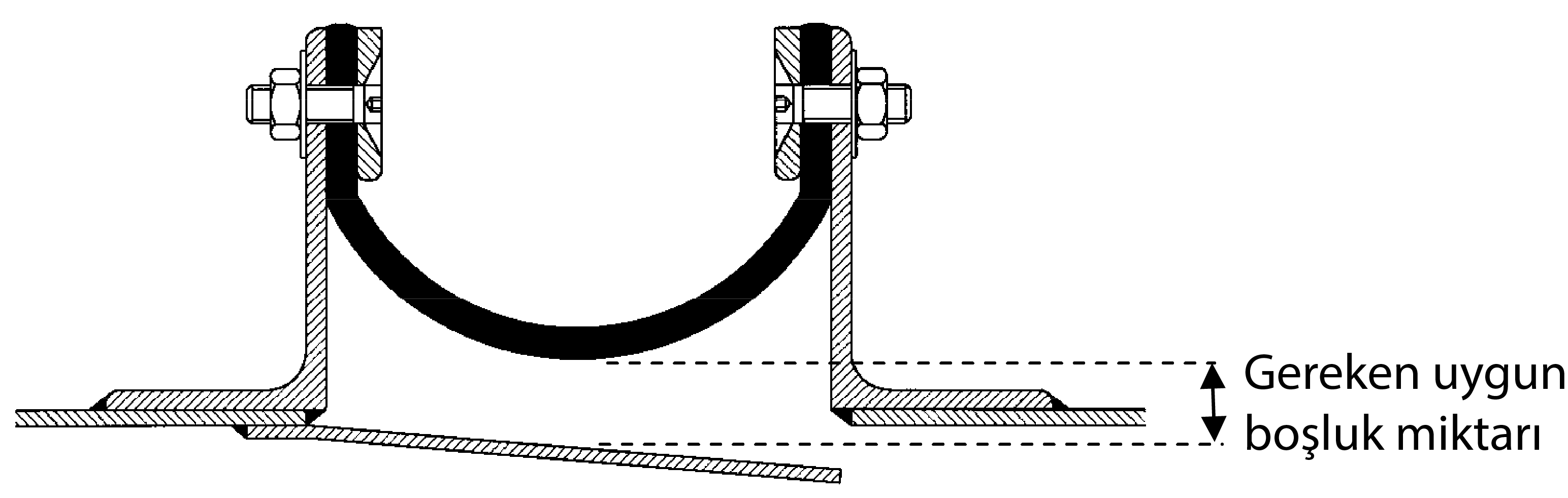
Yalnızca düşük basınçta çalışan dairesel kanallar için etkili bir şekilde kullanılabilir. Büyük çaplar için, eşit sıkıştırma basıncı sağlamak için kelepçe bantları birkaç bölüm halinde olmalıdır.

B) Flanşlı Çerçeve
Mevcut kanallar için basit bir çerçeve bağlantısı. Dairesel kanallar için, L / U profiller kaynak için uygun uzunluklarda bükülür. Dikdörtgen kanallar için, düz uzunlukları birleştirmek üzere fabrikasyon, radyal bir köşe kullanılır.

c) Komple montaj için fabrikasyon çerçeve
Bu çerçeve, genellikle yeni yapı projelerine kurulum için komple kompansatör bezi montajları gerektiğinde kullanılır. Aynı zamanda metal kompansatörden, kumaş katmanlı kompansatöre uyarlama projelerinde de genellikle bu çerçeve tasarımı kullanılmaktadır.



2) U - TİPİ KOMPANSATÖR BEZİ
Kanal tasarımcısına en basit bağlantı yöntemini sunar, ancak yapılarının doğası, yüksek sıcaklıklarda kullanımını kısıtlar. 3 veya 4 kattan fazla malzemenin bulunduğu çok katmanlı genleşme derzleri için, flanşın üretimi mevcut hareketi kısıtlar ve daha derin flanşlar ve daha geniş kırılma açıklığı gerektirir. Flanş konfigürasyonu büyük eksenel hareketler ve yüksek negatif basınçlar için tasarımlara izin verir.



A) Pozitif basınç bağlantısı için basit flanş çerçevesi
Yönlendirici plakalar bu konfigürasyona takıldığında, plakalar kompansatör bezine temas etmemelidir, özellikle dikdörtgen kopansatörlerin köşelerine dikkat edilmelidir.



B) Negatif basınç bağlantısı için basit flanş çerçevesi
Yüksek negatif basınç değerleri için, esnek elemanda keskin açıların önlenmesi esastır. Bu çerçeve tasarımı ile kullanılabilecek kompansatör tipi, sızdırmazlık yüzeyi üzerindeki kısıtlı hava akışı nedeniyle bazı sıcaklık sınırlamalarına sahiptir.



3) SICAKTAN SOĞUĞA / SOĞUKTAN SICAĞA KARKASLAR
Gaz türbini sistemlerinde ve diğer yüksek sıcaklık uygulamalarında kompansatör bezleri genellikle kanal yalıtımının içten dışa veya tam tersi şekilde değiştiği noktada bulunur. İç yalıtımın desteği dikkatli bir tasarım gerektirir ve bazen çerçeve tasarımını stres sınırları içinde tutmak için kompansatörün konik olması gerekir. Birkaç örnek (bant tipi kompansatör bezi kullanarak) aşağıdaki gibidir:



A) Sıcaktan Sıcağa
B) Sıcaktan Soğuğa
C) Soğuğtan Soğuğa
Köşeler

Kumaş katmanlı kompansatörün esnek elemanı, kompansatörün tasarlandığı hareketi emmesi veya buna izin vermesi bakımından en önemli işlevi yerine getirir. Bu hareket eksenel, yanal, açısal veya bunların herhangi bir kombinasyonu olabilir. Dikdörtgen kompansatörlerde, köşeler en büyük zorluğu temsil eder ve dikkatli bir tasarım düşüncesine ihtiyaç duyar.

Pahalı kalıplama teknikleri olmadan, U-tipi kompansatörlerin köşeleri genellikle bombe yapmaz ve bu nedenle hareket, eksenel düzlemde buruşma ve yanal hareket altında gerilme ile yüklenen malzeme üzerindeki zorlanma ile sınırlıdır. Kalıplanmış köşelere sahip elastomerik kompansatörler, bu gerilimlerin bazılarının üstesinden gelir, ancak kompozit kompansatörler, kumaş elemanının erken arızalanmasını önlemek için dikkatli bir tasarıma ihtiyaç duyar.

Radyuslu köşeye sahip bant tipi kompansatörler, dikdörtgen montajlar için en iyi çözümü sunar. Kompansatör malzemesi dairesel kompansatörlere benzer şekilde hareket edebilir ve hareketlerin yüksek olduğu durumlarda köşe, hem eksenel hem de yanal hareket için ek pay içerecek şekilde ayarlanabilir. Radyuslu köşeler, yüksek termal gerilimlere maruz kalan sıcak kompasantör karkaslarının tasarımında da avantajlıdır.

FanFlex

Fanflex kompansatörler, düşük sıcaklık bölgelerinde boru ve kanal sistemlerinde ısıl genleşme, titreşimler ve yanlış hizalanmaları sönümler.

  • Tek veya çok katmanlı yapı
  • Birçok eksendeki hareketi aynı anda sönümler
  • Kuru ve ıslak ortamlarda kullanım
  • Yüksek basınç (+/-) koruması için metal ring desteği
  • İsteğe bağlı metal flanşlı veya kelepçeli üretim
  • Çalışma sıcaklık aralığı: -50 °C / +300 °C
  • Çalışma basınç aralığı: -0,25 bar / +0,25 bar
  • 1- Kompansatör Bezi
  • 2- Seyyar Yönlendirici*
  • 3- Flanş Takviyesi
  • 4- Baskı Laması
  • 5- Basınç Ringi*
  • 6- Bağlantı Flanşı
  • 7- Alyan Baş Cıvata*

* Opsiyonel

ChemFlex

ChemFlex kompansatörler, agresif kimyasal içeren boru ve kanal sistemlerinde termal genleşme, titreşimler ve yanlış hizalanmaları sönümler.

  • Tek katmanlı yapıya sahip
  • Birçok eksendeki hareketi aynı anda sönümler
  • Kuru ve ıslak ortamlarda kullanımı uygundur
  • Asitlere karşı yüksek dayanım
  • İsteğe bağlı metal flanşlı veya kelepçeli üretim
  • Çalışma sıcaklık aralığı: -35 °C / +425 °C
  • Çalışma basınç aralığı: -0,35 bar / +0,35 bar
  • 1- Kompansatör Bezi
  • 2- Yoğuşma Bariyeri*
  • 3- Tek Yüz Flanş Takviyesi
  • 4- Baskı Laması
  • 5- Sızdırmazlık Fitili*
  • 6- Kaynak Bağlantısı
  • 7- İç Yönlendirici*

* Opsiyonel

MultiFlex

MultiFlex kompansatörler, kuru ve orta sıcaklıktaki bölgelerde boru ve kanal sistemlerinde ısıl genleşme ve yanlış hizalanmaları absorbe eder.

  • Çok katmanlı yapıya sahip
  • Birçok eksendeki hareketi aynı anda sönümler
  • Kuru ortamlarda kullanımı uygundur
  • Düşük asit dayanımı
  • İsteğe bağlı çelik karkaslı imal edilebilir
  • Çalışma sıcaklık aralığı: -50 °C / +575 °C
  • Çalışma basınç aralığı: -0,25 bar / +0,25 bar
  • 1- Kompansatör Bezi Flanş Takviyesi
  • 2- Dış Katman
  • 3- Sızdırmazlık Katmanı
  • 4- Isı İzolasyon Katmanı
  • 5- Mekanik Mukavemet Katmanı
  • 6- İzolasyon Yastığı Flanş Takviyesi
  • 7- İzolasyon Yastığı Dış Katmanı
  • 8- İzolasyon Yastığı Dolgu Elyafı
  • 9- Bağlantı Flanşı
  • 10- Baskı Laması
UltraFlex

UltraFlex kompansatörler, kuru ve orta sıcaklıktaki bölgelerde boru ve kanal sistemlerinde ısıl genleşme ve yanlış hizalanmaları absorbe eder.

  • Çok katmanlı yapıya sahip
  • Birçok eksendeki hareketi aynı anda sönümler
  • Kuru ortamlarda kullanımı uygundur
  • Düşük asit dayanımı
  • İsteğe bağlı çelik karkaslı imal edilebilir
  • Çalışma sıcaklık aralığı: -50 °C / +800 °C
  • Çalışma basınç aralığı: -0,30 bar / +0,30 bar
  • 1- Kompansatör Bezi Flanş Takviyesi
  • 2- Dış Katman
  • 3- Mekanik Mukavemet Katmanı
  • 4- Isı İzolasyon Katmanı
  • 5- İzolasyon Yastığı Flanş Takviyesi
  • 6- İzolasyon Yastığı Dış Katmanı
  • 7- İzolasyon Yastığı Dolgu Elyafı
  • 8- Bağlantı Flanşı
  • 9- Baskı Laması
  • 10- Yüzer Tip Yönlendirici*

* Opsiyonel

ArmiFlex

ArmiFlexs kompansatörler, kuru, yüksek sıcaklık ve yüksek debili bölgelerde boru ve kanal sistemlerinin ısıl genleşmesini ve kaymasını güvenle absorbe eder.

  • Çok katmanlı yapıya sahip
  • Birçok eksendeki hareketi aynı anda sönümler
  • Kuru ortamlarda kullanımı uygundur
  • Yüksek uzama hareketi yapabilmesi için özel tasarlanmıştır
  • Yüksek asit dayanımı
  • Çalışma sıcaklık aralığı: -50 °C / +850 °C
  • Çalışma basınç aralığı: -0,35 bar / +0,40 bar
  • 1- Kompansatör Bezi Flanş Takviyesi
  • 2- Dış Katman
  • 3- Mekanik Mukavemet Katmanı
  • 4- Isı İzolasyon Katmanı
  • 5- Yüksek Isıya Dayanıklı Katman
  • 6- Paslanmaz Örgü Tel
  • 7- Çelik Bant Takviyesi
  • 8- İzolasyon Yastığı Flanş Takviyesi
  • 9- İzolasyon Yastığı Dış Kumaşı
  • 10- İzolasyon Yastığı Dolgu Elyafı
  • 11- Baskı Laması
GTFlex

Sıcaktan sıcağa, Sıcaktan soğuğa ve soğuktan soğuğa olmak üzere üç temel türbin kompansatörü tipi vardır. Her tip, kurulacağı yerin çalışma şartlarına bağlı olarak belirlenir ve her biri, özel yapı ve tasarım malzemeleri gerektirir.

Türbin girişleri ve türbin egzoz kompansatörleri için Metrik Endüstriyel tarafından üretilen birçok tasarım vardır. Aşağıda temel kurulumu gösteren bazı tipik örnekler verilmiştir.

Soğuktan Soğuğa gaz türbini kompansatörü konfigürasyonları, her iki bağlantı flanşının da iç izolasyona sahip olduğu bölgelerde kullanılmaktadır.

Slot delikli yönlendirici plakaların montajı için bağlantı flanşına kaynaklı gijonlar (saplama) kullanır, bu sayede asılı yönlendirici plakalar sıcaklık artışıyla birlikte slot deliklerin müsaade ettiği yönde ve miktarda serbestçe hareket eder.

Bu modelde, kompansatör karkasının hiçbir kısmı doğrudan sıcak gaz akışına maruz kalmaz.

Sıcaktan Soğuğa gaz türbini kompansatörü konfigürasyonları, bir bağlantı flanşının egzoz gazı sıcaklığında çalıştığı, diğer bağlantı flanşının iç izolasyona sahip olduğu bölgelerde kullanılmaktadır.

İzolasyonsuz flanş tarafındaki kompansatör yastığı, izolasyon pulları ile çapa pimlere sabitlenir ve yönlendirici gövdeye kaynaklanır.

İç izolasyonlu flanş tarafında ise slot delikli yönlendirici plakaların montajı için bağlantı flanşına kaynaklı gijonlar (saplama) kullanır, bu sayede asılı yönlendirici plakalar sıcaklık artışıyla birlikte slot deliklerin müsaade ettiği yönde ve miktarda serbestçe hareket eder.

Sıcaktan Sıcağa gaz türbini kompansatörü konfigürasyonları, her iki bağlantı flanşının egzoz gazı sıcaklığında çalıştığı bölgelerde kullanılmaktadır.

Özel karkas tasarımı, geleneksel kompansatör karkaslarına oranla çok yüksek çevrim sayısı yapma imkanı sunar.

 Metrik Endüstri A.Ş.
MERKEZ OFİS & FABRİKA


Köşklü Çeşme, İstanbul Cd.
No:93, 41400
Gebze/Kocaeli


E-posta: info@metrikend.com
Telefon: +90 (216) 969 76 99
Fax: +90 (216) 969 74 99

© 2020 METRİK is Proudly Powered by ULACQ